VIEW CATALOG


PRODUCT SEARCH


QUICK QUESTIONS

Name:
Email(Optional):
State/Region:
Phone:
Product Description
Verification Code:
This Is CAPTCHA Image

To verify content, please enter in the characters in the image above (Case sensitive)

WEIZEL FACTS

Weizel presently serves 1,755 correctional and prison facilities in North America 2006 Incarceration Facts

U.S.A: 2.2 Million inmates in approx. 7,000 facilities.

Canada: 38,000 inmates in approx. 450 facilities

Weizel presently serves 2,454 hospitals in North America


TOOLS & SERVICES

Currency Converter
Form Center
How-To: Request Quote
Pricing Policy



SecuringCosmos.com

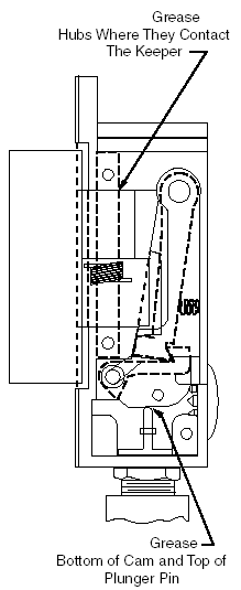
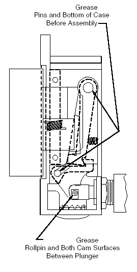
Maintenance for the FA500 Strike

Under normal usage the 500 electric strike should be cleaned and lubricated once a year to maintain its reliability. In applications with high usage or dirty conditions, more frequent service may be necessary. Lubrication points are identified in the illustration. When servicing a 500, inspect the internal parts for excess wear for breakage and lightly lubricate per the instructions. Lubricate with HPG Grease , available here.

Note: Never lubricate any strike with oil, such lubrication collects dirt and forms an abrasive and sticky compound that may affect the function of the strike.

To Inspect and Lubricate the Strike:

  1. Remove the strike from the faceplate, held on by two(2) 10-32 x 3/8 FHPMS.

  2. Remove the front cover, held on by two(2) 4-40 x 3.16 FHPMS.  Removal of the front cover chould be done slowly, because the locking cam spring may snap out of place.  Also, care should be taken to insure that the baffle is not lost.

  3. Remove the cam spring and baffle.

  4. PULL TYPE: Loosen the lock nut holding the solenoid.  Then remove the solenoid and plunger assembly.
    PUSH TYPE: Loosen the lock nut holding the solenoid.  Then remove the solenoid and plunger assembly.

  5. Remove the locking cam.

  6. Remove the locking lever spring and the locking lever.

  7. Lubricate the area in the case where the locking lever and locking cam rest.  Do not get any lubricant on the solenoid or switches.  Lubricate the cam pin and lever pin.

  8. Check the locking angle of the keeper and the locking lever for wear.  Replace the keeper and/or lever arm if worn. If the keeper is disassemble for replacement or adding a switch, lubricate the keeper pin.

  9. Reinstall the locking lever and the locking lever spring.  The spring must be held compressed into the hole in the locking lever for installation.

  10. Check the solenoid, plunger and plunger guide for excess wear, dirt, grime or oil.  If present, wipe clean.

    PUSH TYPE: Remove the retaining ring for inspection of the plunger guide.  Re-assemble the solenoid and plunger with a new retaining ring.

  11. PULL TYPE: Lubricate the roll pin and the locking cam surfaces between the solenoid plunger (contact points of the solenoid plunger).

    PUSH TYPE: Lubricate the edge of the locking cam (contact point of the solenoid plunger.

  12. Reinstall the locking cam.  If the strike has a LCM switch, make sure the roll pin on the locking cam is positioned in front of the switch actuator arm.

  13. Check all screws, tighten if necessary.  Do not over tighten the switch screws.  Over tightening could break the switch.

  14. Reinstall the baffle.

  15. Reinstall the front cover

  16. Re-assemble the strike to the frame and the faceplate.


BUY PRODUCT NOW !!